江湖婚慶門戶系統新版V2.2將于近期正式上線,這是合肥江湖信息科技有限公司繼《江湖婚慶系統V2.0》之后的又一力作。相比較前面老的版本,新版本中做了很多的功能完善和優化,不管是從用戶體驗中,還是功能完整性,都有很大的提升。
在江湖新版的婚慶系統2.2中,增加了一個特色功能,可以幫助網站酒店,商家類會員追蹤預約用戶的意向,并且按照不同的意向等級進行統一分類,這樣從根本極大的方便酒店或者商家對于潛在目標用戶群管理,從根本提供轉化效率。
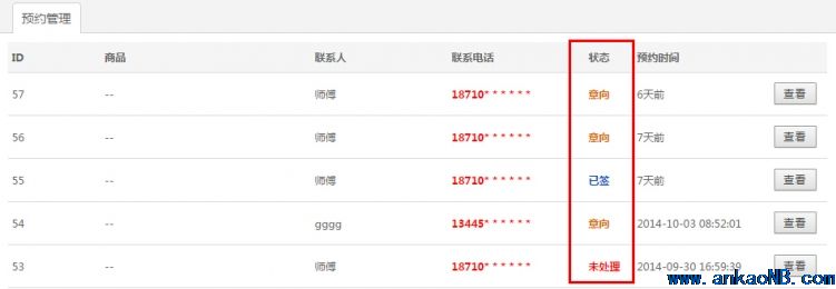
下面就來詳細介紹一下商家預約、酒店預約等狀態跟蹤的具體演示流程:
1、用戶有意向,點擊在線預約,留下姓名,手機和其他聯系方式;
2、商家或者酒店在用戶中心查看預約用戶信息(默認狀態下,全部顯示為未處理狀態),并且進行電話或者QQ跟蹤了解用戶;
3、商家或者酒店根據溝通過程和結果對不同的預約用戶進行設置意向類型,目前有:未處理、意向、已簽、無效四種意向標簽供商家和用戶選擇;


